設定

基板上のDIPSWの設定です。
使用されているDIPSWのスイッチNo表記が1~8の場合がありますが、マニュアルではSW0~SW7と表記しています。
通常は電源投入もしくはリセット直後にしかDIPSWの状態を読み取りません。

スイッチ設定内容設定値(0=OFF,1=ON)
SW0-2LRCK,BCKサンプリングレートもしくは動作モード設定000:LRCK 32kHz, BCK 64fs以下
100:LRCK 32kHz 2xオーバーサンプリング(64kHz), BCK 64fs以下
010:LRCK 33.1kHz 2xオーバーサンプリング(66.2kHz), BCK 64fs以下
101:LRCK 32kHz BCK 256fs
011:テストモード LRCK 32kHz相当 1kHz sin波
111:テストモード LRCK 33.1kHz相当 1.03kHz sin波
それ以外:無効
SW3LRCK極性設定0:Lレベル時に左チャンネル入力
1:Hレベル時に左チャンネル入力(テストモード時は設定不可)
SW4-5SDAT分解能設定00:16bit
10:18bit
01:20bit
11:24bit
※テストモードは設定によらず24bit固定
SW6-7出力サンプリングレート00:MODE1 32kHz
10:MODE1 48kHz
01:MODE1 96kHz
11:MODE2 96kHz(SDAT分解能設定 24bit時設定不可、テストモード不可)

出力モード

MODE1

入力データ基準で入出力の同期を取るモードです。
入力データを欠落させて同期を取る場合があります。

入力64kHz

mode1_input64kHz.jpg

入力32kHz

mode1_input32kHz.jpg

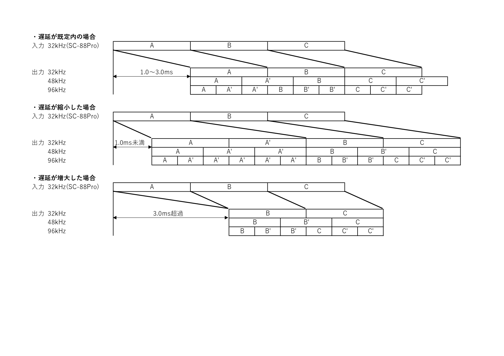
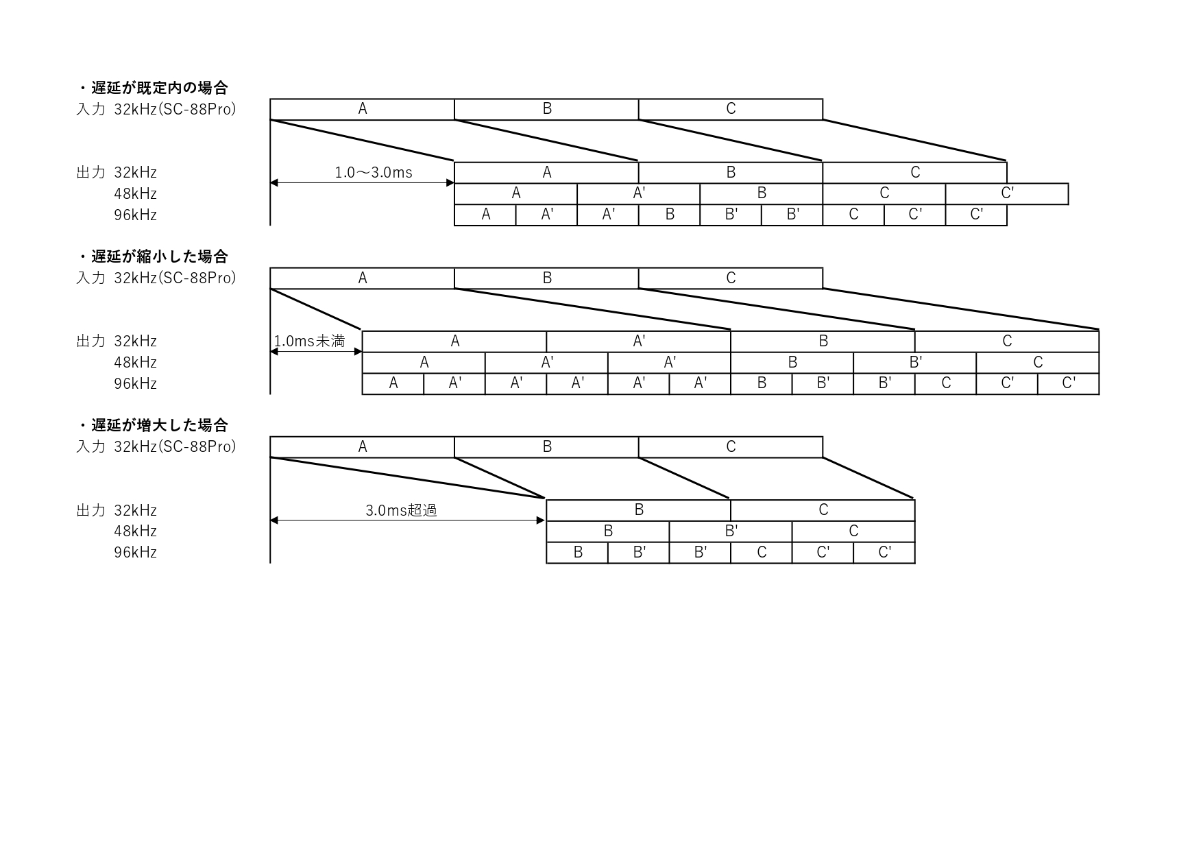
MODE2

出力データ基準で入出力の同期を取るモードです。
データが重複する箇所で同期を取り、データの下位4bitにデータの欠落/重複情報を付加しているため、データを後処理することで元のデータの復元が可能です。

入力64kHz

mode2_input64kHz.jpg

入力32kHz

mode2_input32kHz.jpg

設定例

対応機種/設定例

テストモード

SPDIF出力の動作確認用に内蔵データ(sin波)を出力するモードです。
無音 5sec -> Lch 5sec -> LRch 5sec -> Rch 5sec の順番に出力します。


トップ   新規 一覧 検索 最終更新   ヘルプ   最終更新のRSS